
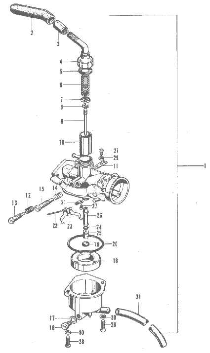
LE CARBURATEUR
|
|
|
|
|
|
| Tableau de réglages | |||
| Diamètre | 10 mm | Papillon d'accélérateur | CA 2.5 |
| Gicleur principal | 62 | Orifice de dérivation | passage 10 x 0.2 |
| Gicleur d'air | 100 | Gicleur de ralenti | 0.8 x 5.0 P |
| Gicleur d'air | AB1 0.5 mm x
2
AB2 0.4 mm x 2 AB2 0.5 mm x 2 |
Gicleur
d'air
VSC |
35
1.1/1 1.1/8 |
| Prise d'air | 2. 1 mm x
2,8P
R OD 4.2 |
Niveau d'essence | diamètre 0,8 mm |
| Gicleur supérieur | 3:5 dépassant | Niveau flotteur | 5,0 mm |
| Calibreur d'air | 5°30' 5 positions | Repère | F5A |